- 產品介紹
水平螺翼濕式冷水表
可拆式水平螺翼式水表
WPH水平螺翼式水表
產品概述
用 途:用于測量流經自來水管道水的體積總量。
工作條件:水壓:不超過1.0MPa(10bar) 溫度等級:T30/T90
特 點:本水表為不可拆濕式水表,主要應用于農業灌溉及工業用表。具有以下優點:結構新穎、性能穩定;傳動性能穩定可靠;可以測量水質較硬和含垢、含懸浮顆粒的水質;壓力損失小,讀數直觀,使用壽命長本水表為可拆干式磁傳動水表,具有以下優點:傳動阻力小,流通能力大,計量精度高,使用壽命長,零部件通用性好,維修方便,計數器抽真空,讀數永遠保持清晰。
備 注;根據需要可配有遠傳發訊裝置.通常我們標準配置為干簧管感應器。脈沖當量有100升/脈沖和1000升/脈沖供選擇.同時也有其他傳感器給有條件的客戶選用。
流量參數:
型 號
公稱
計量等級
過載
常用
分界
最小
最小
最大
m3/h
m3
LXL-80
80
25
78.75
63
4.00
2.52
0.01
999999
LXL-100
100
25
125
100
6.40
4.00
0.01
999999
LXL-150
150
25
312.5
250
16.00
10.00
0.01
999999
LXL-200
200
25
500
400
25.6
16.00
0.01
999999
LXL-250
250
25
787
630
102
25.2
0.01
999999
LXL-300
300
25
1250
1000
160
40
0.01
999999
口徑
mm
流量
q4
流量
q3
流量
q2
流量
q1
讀數
讀數
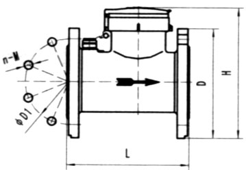
外形參數:
|
型 號 |
口徑 |
長 L |
寬B |
高 H |
連接法蘭 |
|||
|
|
mm |
法蘭外徑D |
螺栓孔中心 |
連接螺栓 |
||||
|
LXL-80 |
80 |
225 |
200 |
236 |
200 |
160 |
8-M16 |
|
|
LXL-100 |
100 |
250 |
220 |
251 |
220 |
180 |
8-M16 |
|
|
LXL-150 |
150 |
300 |
285 |
309 |
285 |
240 |
8-M20 |
|
|
LXL-200 |
200 |
350 |
340 |
362 |
340 |
295 |
8-M20 |
|
|
LXL-250 |
250 |
400 |
400 |
430 |
395 |
350 |
12-M20 |
|
|
LXL-300 |
300 |
450 |
450 |
460 |
445 |
400 |
12-M20 |
|
外形尺寸及重量僅供參考,以實物為準,水表長度可根據客戶需求定制
Ws垂直螺翼式水表
產品概述:
WS型垂直螺翼式大口徑工業水表為我公司結合中國的實際情況,以德國的技術為基礎,自行開發設計的一項國家專利產品,具備了當代國際水平,內置不銹鋼濾網設計適合中國用水環境,適用于流量變化較大的場合的水計量。
產品特點:
全流量檢測,測量精度高,整體性能全面優于LXS旋翼式水表
量程寬,適合流量變化較大的場所,以及經常在小流量區間工作的場所
耐高耐磨性軸承系統確保產品的長期穩定性和可靠性,明顯提高了產品的最大流量
表殼內外采用環氧樹脂熱噴防腐處理,整表符合國家衛生部和歐洲飲用水標準要求
可配制銅封干式計數器,防護等級達到IP68
可配置無源直讀計數器,帶有RS-485或M-BUS標準接口
出廠水表預裝遠傳磁鋼,可在線升級為有線/無線遠傳智能水表
可選配PN10、PN16、PN25工作壓力等級的水表
優勢說明集中了水平螺翼式水表和旋翼式水表的優勢,采用全流量檢測,被測水流為軸向水流,低進高出,測量精度高,尤其在低流量下,精度高于其他類型水表內置不銹鋼濾網設計,測量元件得到最大程度保護流動剖面敏感度等級為U0/D0,水表的進水/出水端無直管段要求
流量參數及外形尺寸:
|
公稱口徑DN(mm) |
40 |
50 |
50S |
65 |
80 |
80S |
100 |
100S |
150 |
200 |
|
常用流量Q?(m3/h) |
25 |
40 |
40 |
40 |
63 |
63 |
100 |
100 |
250 |
400 |
|
量程比Q?/Q? |
160 |
200 |
200 |
200 |
200 |
200 |
200 |
200 |
200 |
200 |
|
Q?/Q?(m3/h) |
1.6 |
1.6 |
1.6 |
1.6 |
1.6 |
1.6 |
1.6 |
1.6 |
1.6 |
1.6 |
|
過載流量Q?(m3/h) |
31.25 |
50 |
50 |
50 |
78.75 |
78.75 |
125 |
125 |
312.5 |
500 |
|
分界流量Q?(m3/h) |
0.25 |
0.32 |
0.32 |
0.32 |
0.504 |
0.504 |
0.8 |
0.8 |
2 |
3.2 |
|
最小流量Q? |
0.16 |
0.20 |
0.20 |
0.20 |
0.32 |
0.32 |
0.5 |
0.5 |
1.25 |
2 |
|
壓力損失等級(m3) |
ΔP63 |
ΔP63 |
ΔP63 |
ΔP63 |
ΔP63 |
ΔP63 |
ΔP63 |
ΔP63 |
ΔP63 |
ΔP63 |
|
顯示范圍min(m3) |
0.0005 |
0.0005 |
0.0005 |
0.0005 |
0.0005 |
0.0005 |
0.0005 |
0.0005 |
0.0005 |
0.0005 |
|
max(m3/p) |
999,999 |
999,999 |
999,999 |
999,999 |
999,999 |
999,999 |
999,999 |
999,999 |
999,999 |
999,999 |
|
脈沖值 |
0.1/1 |
0.1/1 |
0.1/1 |
0.1/1 |
0.1/1 |
0.1/1 |
0.1/1 |
0.1/1 |
0.1/1 |
0.1/1 |
|
長度L(mm) |
245 |
280 |
200 |
300 |
370 |
225 |
370 |
250 |
500 |
500 |
|
高度H(mm) |
220 |
228 |
233 |
238 |
290 |
294 |
306 |
311 |
445 |
564 |
|
法蘭外徑D(mm) |
|
165 |
165 |
185 |
200 |
200 |
220 |
220 |
285 |
340 |
|
單邊螺栓孔數-孔直徑(PC-mm) |
|
4-Ф19 |
4-Ф19 |
4-Ф19 |
4/8-Ф19 |
4/8-Ф19 |
8-Ф19 |
8-Ф19 |
8-Ф23 |
8/12-Ф23 |
|
螺栓孔中心圓直徑D1(mm) |
|
125 |
125 |
145 |
160 |
160 |
180 |
180 |
240 |
295 |
|
溫度等級 |
T30/T90 |
T30/T90 |
T30/T90 |
T30/T90 |
T30/T90 |
T30/T90 |
T30/T90 |
T30/T90 |
T30/T90 |
T30/T90 |
|
耐壓等級 |
MAP10/16 |
MAP10/16 |
MAP10/16 |
MAP10/16 |
MAP10/16 |
MAP10/16 |
MAP10/16 |
MAP10/16 |
MAP10/16 |
MAP10/16 |
|
重量kg |
7 |
14.5 |
12.6 |
16.8 |
29 |
20 |
31 |
24 |
78 |
120 |
外形尺寸及重量僅供參考,以實物為準,水表長度可根據客戶需求定制
















發表評論共有0訪客發表了評論
暫無評論,快來搶沙發吧!